Утверждение проекта?
Утверждение проекта продукций: пользователь выбрает проект по своему рабочему условию, ?JIE привод? утверждает проекта продукций.
Утверждение проекта продукций: пользователь выбрает проект по своему рабочему условию, ?JIE привод? утверждает проекта продукций.
образцовое сотрудничество?
мелкие партии, подтверждающие мелкие партии;?
оптовое сотрудничество и непрерывная оптимизация?
Сборка и монтаж должны проводиться квалифицированным персоналом, полученным обучение;
Завод-изготовитель не отвечать за лююое нарушение, вызванное неправильной сборкой и монтажом;
В процессе планирования надо оставить достаточное пространство для следующего обслуживания и ремонта;
Перед сборкой и монтажом надо готовить соответствущее подъёмное оборудование;
Если на редуктор (двигатель) установлен вентилятор, то запланировать достаточное пространство для всасывания воздуха;
Описание в таблице привода должно соответствовать с электропитанием на месте;
Привод должен быть без дефектов (без нарушения при транспортировке или хранении);
Утверждите, что следующие требования удовлетворены:
Стандартный редуктор: температура среды0°C~+40°C
Отсутствие масла, кислоты, вредного газа, пара, радиоактивной вещи и т.д.;
По вопросу к особому типу: привод установлен по обстоятельствам;
Червячный редуктор: нельзя на редуктор с самоблокированием
Нагружать чрезмерный обратный наружный момент инерции в предотвращении от нарушения редуктора;
Для обеспечения эффективной смазки надо соблюдать места монтажа в заказе;
Обратите внимание на предупреждение редуктора (двигателя) и предъявление о безопасности.
Полностью чистить консервирующее средство на поверхности выходного вала и фланца, грязи и другие вещи закупным растворителем;
ВНИМАНИЕ: растворитель не должен входить в контактную кромку уплотнения, в противном случае, будет вызвать нарушение маслянного уплотнения;
Если редуктор сохраняется на 1 год или больше, срок использования смазки в подшипнике будет сократить;
Если наливается минеральное масло или синтетическое масло (CLPHC), количество налива и место монтажа соответствуют требованиям, при этом, редуктор может входить в эксплуатацию в любое время. Тем не менее, перед запуском надо проверять уровень масла;
Если наливается синтетическое масло (CLPHC), в некоторых условиях уровень масла выше, перед запуском надо исправить уровень масла.
Редуктор (двигатель) только установлен на горизонтальной, антивибрационной опорной конструкции на кручение по установлениям; Подножники корпуса и монтажный фланец не должны одновремено взвинчивать в процессе монтажа в предотвращении от взаимодействия;
При закреплении редуктора (двигателя) болтами и фундаментными блоками на бетонном основании, надо подготовить соответствующий желоб для поставки редуктора (двигателя);
При монтаже надо проверять количество налива и место монтажа. Если место монтажа изменяется надо соответственно регулировать количество налива масла;
Монтировать прямоточный аэратор или открыть резиновое кольцо аэратора;
Запрещается удар на торец вала;
Для вертикального монтажа дигвтеля надо принимать мероприятие защиты от входа посторонних предметов или жидкости (зонтик С);
При монтаже клеммной коробки вход кабеля вниз.
На вале редуктора установить и закреплять входные и выходные приводные элементы (например элементы муфты);
Если эти элементы должны предварительно подгревать перед монтажом, правильная величина температуры показана в размерной схеме муфты;
Нецентрированность муфты может вызвается при сборке, или практическими операциями (тепловое расширение, погнутости вала, недостаток жесткости каркаса оборудования);
Достикаемое отклонение по центрированности муфты показано в паспорте муфты данной марки;
Центрирование должно проводиться в плоскости находжения двух взаимно-перпендикулярных валов. Можно использовать линейку (при нецентрированности по радиальному направлению) и щуп (при нецентрированность по углам) для центрирования;
Если нет иного требования, данные элементы могут подгревать по индукционному методу, или предварительно нагревать внутри форсунки или нагревательной печи.
Конец сплошного вала рабочего двигателя должен?разместить плоской шпонкой типа А первой части стандарта DIN6885, на торцовой поверхности должно быть отверстие 322 DS (с резьбами) в соответствии со стандартом DIN;
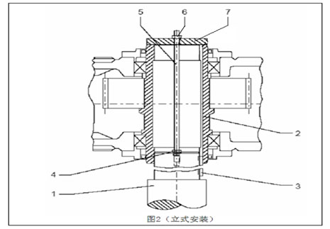
Кроме гайек и болтов, указанных в рис.1 и рис.2, можно использовать другое устройство, например гидравлическое подъёмное устройство.
На торцовой поверхности сплошного вала рабочего двигателя должно быть отверстие 322 DS (с резьбами) в соответствии со стандартом DIN;
Использовать одноблочную втулку для монтажа;
Монтировать редуктор гайками и болтами. Обратные силы представлены полым валом редуктора;
Использовать свободную втулку для монтажа;
Подвигать свободную втулку на сплошной вал рабочего двигателя, закреплять ей в определенном месте посредством позиционирующего устройства. Потом по сплошному валу рабочего двигателя втянуть свободную втулку в полый вал редуктора (см. в рис.1 и рис.2 для справки);
На наружной поверхности полого вала редуктора, в месте усадочного подлоточника добавлять смазку;
По очереди взвинчивать все крепежные болты многократно;
Взвинчивать крепежные болты, чтобы передний бок внутреннего и наружного кольца ровен.
Отвинтить сливную пробку.Добавить правильный тип смазки к масломерному стеклу или слегка к центральной линиимасломерного зеркола наверх.Поставить сливную пробку.
До запуска обязательно дожно проверить следующие проекты и сделать запись:
(1)Уровень смузки
(2)Охлаждение смузки или замкнутость трубы системы смазки
(3)Эфиктивность уплотнения вала
(4)Вращающиеся части не в контакте с другими элементами
Когда редуктор(двигатель) первый раз запускается,если возможно,должно сделать его работать на холостом ходу несколько часов,а если все нормально, то можно постепенно загружаться полным в нужное время ;
При работе редуктора должно контролироваться:
смазки(в непрерывном режиме расчетная температура редуктора:непрерывно работает с использованием минерального масла,то температура 90℃.При более высокихтемпературах необходимо использовать синтетическое масло.Самая высокая температура за короткое время работы до100℃);
Изменения шума эксплуатации;
Возможное вытекание смазки в корпусе бака и в уплотнении вала;
Правильный уровень смазки ;
Повреждения,которые возникают во время гарантийного срока и нужно ремонт,это обязательно сделать отдел обслуживания клиентов.А повреждения,которые возникают послегарантийного срока и нельзя опрелелить причину,то мы советуем нашим клиентам обратиться к отделу обслуживания клиентов.
| Меры | Срок |
|---|---|
| Проверить температуру смазки | Каждый день |
| Проверить ненормальный шум редуктора | Каждый месяц |
| Проверить у редуктора есть ли вытекание смазки | Каждый месяц |
| Проверить уровень смазки | Каждый раз до запуска редуктора |
| Проверить влагу смазки | После 400 часов работы, по крайней мере раз в год |
| Первая замена смазки | часов работы после запуска |
| Следующие замены смазки | Каждые 18 месяцев или 5000 часов работы |
| Чистить масляный фильтр | Каждые 3 месяца |
| Чистить дыхательный клапан соленоида | Каждые 3 месяца |
| Чистить вентилятор、кожух вентилятора и корпус бака редуктора | По требованию или с заменой смазки одновременно |
| Проверить охлаждение обрастания катушки | Примерно каждые 2 года или с заменой смазки одновременно |
| Проверить охладитель воды смазки | С заменой смазки одновременно |
| Проверить тесноту крепежных болтов | После первой замены смазки,потом заменить смазку через раз |
| Фронтальная проверка редуктора | Примерно каждые 2 года или с заменой смазки одновременно |
| Повреждения | Причины | Меры |
|---|---|---|
| Большой шум в закрепители редуктора | Ослабление закрепители | Закрутить болты/гайки до указанного момента затяжки,заменить дефектные болты/гайки |
| Изменения шума редуктора | Повреждение зубов зубчатого колеса | Обратиться к отделу обслуживания клиентов,проверить всезубчатые колесы,заменить дефектные части |
| Зазор подшипника слишком большой | Обратиться к отделу обслуживания клиентов, регулировать зазор подшипника | |
| Подшипник сломается | Обратиться к отделу обслуживания | |
| Температура эксплуатации слишком высокая | Уровень смазки в корпусе бака слишком высокий | Проверить уровень смазки,при необходимости,регулировать его |
| Смазка слишком старая | Обратиться к отделу обслуживания клиентов,проверить время прошлой замены смазки, при необходимости,заменить смазку | |
| Смазка сильно загрязнена | Обратиться к отделу обслуживания клиентов, заменить смазку | |
| В редукторе со смазкой водяного охлаждения:поток охлаждающей жидкости слишком высокий или низкий | Комплексное регулирование впускного и выпусного клапана труб,проверить свободный поток блока водяного охлаждения | |
| Температура охлаждающей жидкости слишком высокий | Проверить температуру, при необходимости,регулировать ее | |
| Расход смазки устройства охладения слишком низкий,причина:масляный фильтр сильно заделают | Чистить масляный фильтр | |
| Техническое овреждение маслонасоса | Обратиться к отделу обслуживания клиентов,проверить работу маслонасоса,ремонтировать или заменить маслонасос | |
| В редукторе с вентилятором:воздухозаборник кожуха вентилятора и корпус бака сильно загрязнены | Чистить кожух вентилятора и корпус бака | |
| Редуктор с охлаждающим змеевиком:охлаждающий змеевик внутри обрастания | Обратиться к отделу обслуживания клиентов,чистить или заменить спираль | |
| Температура подшипника слишком высокая | Уровень смазки в корпусе бака редуктора слишком высокий или низкий | При комнатной темперптуре проверить уровень смазки, при необходимости,добавить смазку |
| Смазка слишком старая | Обратиться к отделу обслуживания клиентов,проверить время прошлой замены смазки | |
| Техническое овреждение маслонасоса | Обратиться к отделу обслуживания клиентов,проверить работу маслонасоса,ремонтировать или заменить маслонасос | |
| Подшипник сломается | Обратиться к отделу обслуживания клиентов,читать полученные данные измерения вибрации, проверить подшипник,при необходимости,заменить его | |
| Поднимание амплитуды подшипника | Подшипник сломается | Обратиться к отделу обслуживания клиентов,проверить подшипник,при необходимости,заменить его |
| Зубчатое колесо сломается | Обратиться к отделу обслуживания клиентов,проверить зубчатое колесо,при необходимости,заменить его | |
| Температура обратной установки слишком высокая | Обратная установка сломается | Обратиться к отделу обслуживания клиентов,проверить обратную установку, при необходимости,заменить ее |
| Вытекание смазки редуктора | Плохая герметизация кожуха корпуса бака или места включения | Проверить место включения, при необходимости,заменить новую и делать хорошую герметизацию |
| Радиальные уплотнения вала теряет силу | Обратиться к отделу обслуживания клиентов,заменить новое радиальное уплотнительное кольцо | |
| В смазке вода | В смазке мусор | ?Проверьте состояние масла в лаборатории, чтобы проверить, есть ли в лаборатории лабораторное масло.? |
| Маслоохладитель или охлаждающий змеевик теряет силу | Обратиться к отделу обслуживания клиентов,найти и ремонтировать место утечки,заменить охладитель или спираль | |
| Редуктор производит конденсацию из-за потока холодного воздуха между моторами | Защитить ретуктор подходящими изоляционными материалами,закрыть выход воздуха или изменить направление структурно | |
| Сигнализация устройства контроля давления(редуктор с смазкой под давлением、смазкой водяного охлаждения и средством охлаждения воздуха | Давление смазки<0.5bars | При комнатной темперптуре проверить уровень смазки, при необходимости,добавить смазку.Проверить масляный фильтр, при необходимости,заменить его. Проверить работу маслонасоса,ремонтировать или заменить маслонасос |
| Индикатор двойной фильтр переключения предупреждает | Индикатор двойной фильтр переключения заделают | По инструкциям переключить фильтр переключения,снимать и чистить заглушенный фильтр |
| Повреждение системы подачи смазки | Читать инструкцию о системе подачи смазки | |
| Двигатель не запускается | Прерывание линии электропередачи | Проверить электропроводку, при необходимости,регулировать ее |
| Взрыватель плавкого предохранителя | Заменить плавкий предохранитель | |
| Устройства защиты двигателя работают | Проверить установку устройств защиты двигателя, при необходимости,устранить вовреждения | |
| Контактор двигателя не работает, вовреждение системы управления | Проверить управление контактора двигателя, при необходимости,устранить вовреждение | |
| Двигатель не запускается или с трудом запускается | Двигатель должен быть схемой треугольника,но оказалось смеха звезды | Исправить способ электропроводки |
| По крайней мере при запуске напряжение или чачтота сильно отклоняется от номинального значения | Пробовать улучшить ситуацтю запитывания;проверить раздел линии электропередачи | |
| Неправильное направление вращения | Ошибка способа электропроводки двигателя | Обменить двух фазных провода |
| Двигатель с раскатистым шумом и большое потребление тока | Обмотка сломается | Послать двигателя в специальный ремонтный завод |
| Ротор дотрагивает обмотку | ||
| Взрыватель плавкого предохранителя или устройства защиты двигателя сразу работают | Короткое замыкание провода | Устранить короткое замыкание |
| В двигатели короткое замыкание | Послать его в специальный ремонтный завод устранить вовреждение | |
| Ошибка соединения проводов | Исправить способ соединения | |
| Короткое замыкание двигателя на землю | Послать его в специальный ремонтный завод устранить вовреждение |
Тел.:400-114-111/0571-82996820
Email:jiem@jie.com.cn